本文涉及風量測量裝置,特別涉及一種電腦散熱風扇風量測量裝置。
現今,電腦已經廣泛應用于人們的生活、工作及學習等各個領域之中,其重要性不言而喻。眾所周知,高溫是影響電腦穩定性一個十分關鍵的因素,尤其對于設備頻率較高的電腦,散熱工作在夏天顯得特別重要。
目前的系統散熱風扇被固定在電腦中以后,系統散熱風扇在電腦系統中的工作狀態即無法得知,即無法得知系統散熱風扇在運行過程中的風量,這樣就不利于評估系統風扇的I作效能。
鑒于以上內容,有必要提供一種電腦散熱風扇風量測量裝置,以方便測量電腦散熱風扇的風量。一種電腦散熱風扇風量測量裝置,包括一導流罩及一固定環,所述導流罩及固定環中心均對應設有一開孔,所述固定環上還設有至少一熱線風速探頭,所述熱線風速探頭的探測端伸入所述固定環的開孔中,所述導流罩與所述固定環緊配合。

一種電腦風扇風量測量裝置,包括一導流罩、一基架及一固定環,所述導流罩、基架及固定環中心均對應設有一開孔,所述導流罩及固定環分別設于所述基架兩側,所述固定環上:還設有至少一熱線風速探頭,所述熱線風速探頭的探測端伸入所述固定環的開孔中。
上述電腦散熱風扇測量架可放置于電腦系統風扇出口處,利用導流罩使系統散熱風扇排風經過熱線風速探頭,配合風速測量儀即可量取電腦散熱風扇的風量,方便了電腦散熱風扇效能評估。
下面結合附圖及較佳實施方式對本文作進一步詳細描述:
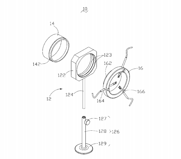
圖I是本文電腦散熱風扇風呈測量裝置較佳實施方式的立體分解圖。
圖2是本文電腦散熱風扇風量測量裝置較佳實施方式的立體組裝圖。
圖3是本文電腦散熱風扇風量測量裝置另一較佳實施方式的立體圖。
具體實施方式
參考圖1及圖2,“一種電腦風扇風量測量裝置10,包括一基架12、設于所述基架12一側的一圓形 導流罩14及設于所述基架12另一側的一圓形固定環16,所述基架12、導流罩14及固定環16中心均對應設有一圓形開孔。
所述基架12包括一方形主體122、從所述主體122一端向下垂直延伸的一支桿124及一支撐架126,所述支撐架126包括一圓形底盤129、從所述底盤129向上垂直延伸的一中空桿體128以及設于所述中空桿體128側面的一調節螺絲127,所述支桿124可插入所述中空桿體128中,其伸入程度由所述調節螺絲127控制。
所述導流罩14及所述固定環16一側分別設有一配合部142和162,所述基架12的主體122兩側對應所述配合部142和162設有兩容置部123,所述配合部142及162與所述容置部123緊配合,從而將所述導流罩14及固定環16與裝設于所述基架12的主體122上。
所述固定環16上設有三個熱線風速探頭164,所述熱線風速探頭164均勻排布于所述固定環16上并分別將其探測端伸入所述固定環16的開孔中,所述固定環16的側面對應所述熱線風速探頭164設有三個緊固螺絲166,所述緊固螺絲166用來固定所述熱線風速探頭164。
進行風量測量時,只需將所述電腦風扇風量測量裝置10的導流罩14對準一電腦風扇的出口處,使系統風扇排風經過所述熱線風速探頭164,用一風速測量儀分別量取所述熱線風速探頭164上的數值后通過計算即可獲得電腦風扇的平均風速,從而得到電腦風扇的風量。
繼續參考圖3,在本文的另一個較佳實施方式中,一電腦風扇風量測量裝置20包括所述圓形導流罩14及所述圓形固定環16,所述導流罩14一側設有一配合部,所述固定環16一側對應所述配合部設有一容置部,所述配合部及所述容置部緊配合,所述導流罩14另一側設有一磁性材料涂層,所述導流罩14可吸附于所述電腦風扇的出口處,借此,運用一風速測量儀分別量取所述熱線風速探頭164上的數值即可獲得電腦風扇的平均風速,從而得到電腦風扇的風量。